

英语原文共 5 页,剩余内容已隐藏,支付完成后下载完整资料
摘要
一种用于抑制航空电子气象雷达中的地面杂波的系统和方法,其包括在时间和空间上紧密间隔地自动进行多次扫描,并且将已知的地面返回信号与已知的地面返回信号进行比较,而不是已知的倾斜角度变化。
用于抑制机载天气雷达上的地面杂波返回的方法和系统
相关申请的交叉引用
本申请涉及题目为“用于在卫星雷达系统上检测和显示天气信息的多扫描方法和系统”的应用,由Daniel L. Woodell,Ser在 2000年9月22日提交的No.09 / 668,674上,还涉及Daniel L.Woodell,序列号09 / 667,442,题为“用天气雷达系统绘制地形的多扫描方法和系统”的另一申请, 2000年9月22日提交,并且还涉及题为“用于检测由垂直剪切部件引起的减少误差的湍流方法和系统”,由Daniel L. Woodell,Roy Robertson和Ying C. Lai,Ser在2000年9月22日提交的美国专利申请09 / 668,715上,均转让给共同受让人,该申请通过引用整体并入本文。
发明领域
本发明大体上涉及航空电子设备,更具体地涉及气象雷达,更具体地涉及用于抑制航空电子雷达上的地面杂波返回的方法和系统。
技术背景
多年来,商业航空公司飞行员的任务有所加重,(好的)结果(要求)有所提高。 一个驾驶舱与早期商用客机相比,典型的现代商用喷气式客机与电子导航,通信和控制设备相比更加精细。 一般来说,这种设备已被证明是非常有益的。一个典型的例子是天气雷达,它对引导一个飞机舒适地穿透风暴有相当大的用处。但是,天气雷达显示器一直存在着显示不必要和混乱的地面杂波返回的问题。
为了解决这些问题,通常,飞行员将调整天气雷达天线的倾斜角度并且将查看显示器在不同角度处是否不同。 然后,飞行员将在心理上吸收这些信息,并得出有关飞机真实环境条件的结论。
已经尝试了其他自动化方法来补偿地面杂波,例如使用雷达回波的统计分析来评估回报的变化量。 如果确定雷达回波变化特征更有可能是由地面目标产生的,则它们是从雷达显示器编辑的。
虽然这些地面杂波抑制的尝试在过去已被广泛使用,但它们确实存在一些缺点。
首先,在恶劣天气期间,飞行员干预工作往往对飞行员来说非常繁重。 该飞行员很可能已经非常关注环境条件,并且破译天气雷达并对其进行操纵是飞行员更加不希望(加重)的额外负担。 另外,这些导向倾斜角度调整及其结果分析是可能发生导频误差的任务。
其次,使用统计变化信息来编辑雷达显示器具有高错误识别率。此外,这种方法高度依赖于天线波束到地面的几何形状。
因此,需要一种改进的方法和系统,用于以有效的方式抑制机载气象雷达的地面杂波。
发明内容
本发明的一个目的是提供一种用于以有效的方式抑制航空电子气象雷达中的地面杂波的系统和方法。
本发明的一个特征是利用多个几何上和时间上紧密间隔的天线SCS。
本发明的另一个特征是包括返回轮廓的比较,包括作为波束几何形状的函数的平均雷达功率返回水平,具有已知或预测的地面返回平均功率的轮廓作为波束几何形状的函数。
本发明的一个优点是取得地面杂波抑制系统和方法的改进效果。
本发明是一种提高航空电子天气雷达地面杂波抑制质量的装置和方法,旨在满足上述需求,提供先前陈述的对象,包括上面列出的功能,并实现已经明确的优势。 本发明以“错误识别”方式在某种意义中执行,即将天气错误识别为地面杂波已经大大减少了。 本发明在这个意义上还以“无先导干预”的方式进行,导向倾斜角调整和多次返回的心理分析。“过滤掉”的地面杂乱现象已经减少。
于是,本发明是一种系统和方法,包括多个紧密间隔的,在时间和空间上的天气雷达扫描和雷达回波的平均功率水平的计算机比较,其与地面返回的平均功率水平的已知变化相关,作为波束几何和方向的函数。
附图的简要说明
通过阅读以下对本发明优选实施例的描述并结合附图,可以更全面地理解本发明,其中:
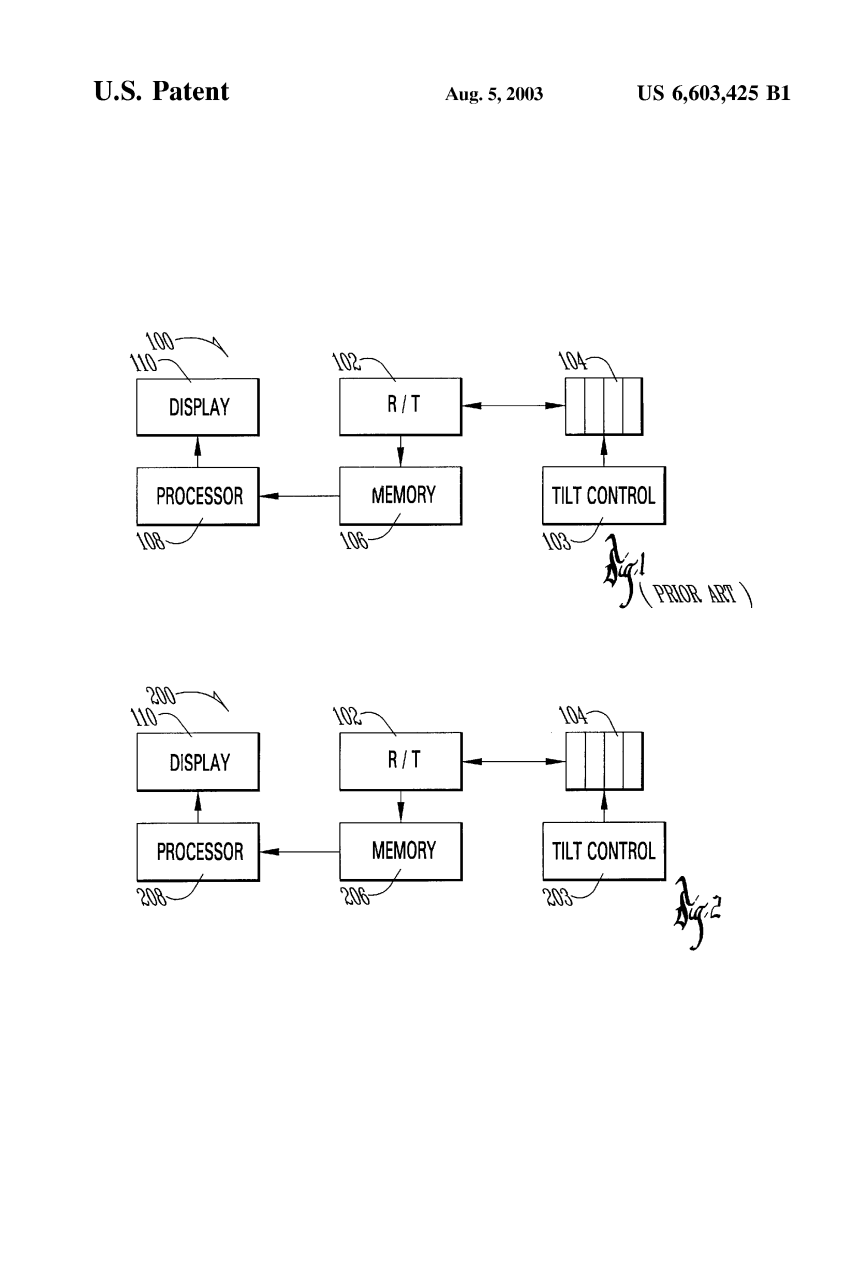
图1是现有技术的气象雷达系统的简化方框图。
1
图2是本发明的气象雷达系统的方框图的简化视图。
2
详细描述
现在参考附图,其中相同的标号始终表示相同的事项,具体实施方式参考图1,展示出了现有技术的系统,通常标记为100,包括耦合到气象雷达可调节天线104的气象雷达接收器/发射器102,手动天线倾斜控制系统103是包括用于由飞行员手动控制天线的倾斜角度。该系统通常由飞行员用于手动调节倾斜角度。在一些现有技术系统中,显示器已经通过附加的单扫描平滑存储器106得到改进,该存储器用于存储一次扫描并限制在下一次扫描时显示完全不同的数据,扫描以相同的倾斜角度完成。气象雷达返回处理单元108用于提供地面杂波并执行基于时间的平滑操作,以及航空电子气象雷达系统100的其他众所周知的功能。组件102,103,104,106,108和110的集成度是设计者选择的问题,并且许多现有技术系统具有上述那些变化。
现在参考图2可以实现对本发明的详细理解,其示出了本发明的航空电子天气雷达系统,通常标记为200,具有气象雷达接收器/发射器102,气象雷达可调天线104和多扫描,多倾斜角度,存储器206。还包括倾斜控制203,用于自动控制天线104的倾斜角度; 该自动控制也可以包括附加的手动控制功能。 这种自动倾斜控制器203在天线扫描之间调整天线104的倾斜角度小的预定角度。 这种多扫描,多倾斜角度的存储器206被认为是新的行业。此外,该存储器能够以易于寻址且可快速检索的方式存储至少两个但最好是更多的数据集,所述数据集由两个或更多个稍微不同角度的天线扫描产生。
多扫描,多倾斜角度的存储器206中的数据用于实现本发明中的有益处的特性发明。多扫描,多倾斜角度,气象雷达返回处理单元208将执行由气象雷达返回处理单元108执行的常规功能,并且它将基于多扫描,多倾斜角度,存储器206中可用的附加数据执行若干附加操作。一般来说,多扫描,多倾斜角度,气象雷达返回处理单元208将以稍微不同的倾斜角度分析至少两组返回的平均功率和功率下降。平均功率水平是首选使用的统计数据;但它应该是了解可以使用与回报的功率水平相关的任何其他统计数据。据信,为此目的,倾斜角的理想变化约为a的一半光束指向雷达地平线时的波束宽度,当雷达指向基本低于雷达地平线时,波束宽度超过一半,但小于一个波束宽度。对于给定的倾斜角度和已知地杂波返回的范围,将该测得的功率下降与预定的平均功率下降曲线进行比较。如果测量了下降轮廓匹配适当的预定存储下降轮廓,然后确定返回是地面杂波,并且可以从数据中移除它以显示给飞行员。另一种方法是使用天线倾斜角度,并添加天线视轴偏移,这将由幅度与波束角度的导数表示。
准备进行平均功率测量和比较时,多扫描,多倾斜角度,天气雷达返回处理单元208将需要旋转和平移所存储的图像以确保在分析过程期间的正确对准。这种旋转和平移可以借助于车载惯性参考系统来完成,例如陀螺仪,空速指示器,高度计,GPS,加速计等。 可以针对所设计的每种类型的系统定制分析程序。 然而,通常平均功率下降分析通过软件程序或硬件配置来实现,其有效地利用已知技术来确定平均功率和平均功率下降。这些平均功率检测技术是众所周知的,并且相信与现有技术的地杂波抑制技术相比提供了优越的结果,该技术涉及雷达回波的不稳健的短期标准偏差或雷达回波的短期自相关。
在操作中,如图1和2中所述的本发明的装置和方法如下所示:
1.以第一倾斜角度进行第一次雷达扫描。倾斜角度可以是由飞行员手动选择的倾斜角度或由飞机上的雷达或其他系统自动选择的倾斜角度。
2.来自第一雷达扫描的第一组返回存储在多扫描多倾斜角度存储器206中。
3.在没有提示或飞行员干预的情况下,雷达系统对天线的倾斜角进行轻微调整,从而建立第二倾斜角。
4.第二个雷达扫描以第二个倾斜角度进行。
5.来自第二雷达扫描的第二组雷达返回存储在多扫描,多倾斜角度的存储器206中。
6.多扫描,多倾斜角度,气象雷达返回处理单元208用于对准来自1和2“波束的返回,以便考虑在扫描之间的时间间隔期间发生的飞行器移动。
7.计算每个返回到地面杂波的返回组的每个段的平均返回功率本发明的抑制技术。
8.回报之间的平均权力差异是确定,以及平均功率水平变化的概况被建造。
9.用a测量轮廓的比较用于预定地面杂波的预定轮廓回报。
10.如果测量的轮廓与预定的比较限制内能匹配,则集合的部分相关数据被排除在作为天气显示给飞行员的数据中。
应该注意的是,对于许多不同的倾斜角度和光束形状、范围等,可以在受控条件下制作许多预定的轮廓。根据所需的识别水平,这些预定的轮廓可以用许多其他变量来制作,例如季节性的,也可以用地理参考; 也就是说,夏季加拿大大平原可能与冬季不同。相似地,东科罗拉多州可能会提供与西科罗拉多州不同的轮廓。 如果它导致地面回报性质的显著差异,则可以使用任何其他变量并预定。
上述方法描述了使用超出正常扫描的单个附加扫描。它可能需要进行几次额外的扫描。 一个可以处于稍微高于原始倾斜角度的倾斜角度,而另一个可以稍微低于原始倾斜角度。
在整个说明书中,参考机载航空电子天气雷达和飞行员,因为相信当飞行员使用机载航空电子气象雷达时,本发明的有益方面将是最明显的。然而,应该理解的是,本发明并不局限于此,因此应该被解释为包括其他非航空电子设备和基于地面的天气雷达,以及除了飞行员之外的人使用的雷达。
我认为本发明的方法和装置将从前面的描述中理解,并且显而易见的是,可以在形式、构造步骤以及部件和步骤的布置方面进行各种改变,而不脱离本发明的方法和装置。发明的精神和范围或牺牲他们所有的材料优点。这里描述的形式仅是优先选择的其示例性实例。
我要求:
1.一种抑制天气雷达显示器上的地面杂波的方法,包括使用以第一倾斜角设置的天线扫描第一区域的步骤,接收作为所述步骤的第一雷达返回的步骤:
扫描第一区域,首先返回其中具有第一地面杂波分量和第一天气组件;
提供与所述天线连接的计算机天线控制器,并自动将所述天线的方向调整为第二倾斜角度;
使用设置在所述第二倾斜角度的所述天线扫描第二区域;
接收第二雷达返回作为扫描第二区域的所述步骤的结果,所述第二区域返回其中具有第二地面杂波分量和秒天气成分;
进行第一次比较,该比较是所述第一雷达返回的第一返回功率统计和所述第二雷达的第二返回功率统计的比较返回,以确定由所述第一倾斜角度和所述第二倾斜角度之间的角度差异导致的差异,并且产生接收的返回角度统计功率分布;
进行第二次比较,其是所述接收的返回角度统计功率分布与预定的返回角度功率分布在预定的倾斜角度范围内的地面返回的比较;
以及响应于所述第二比较关于雷达回波的一部分,其表示地面杂波分量并且可以从显示器删除到飞行员。
2.如要求1所述的方法,其特征在于,进行第一次比较的步骤包括第一次雷达回波与所述第二次雷达回波之间进行相对调整的步骤,这导致扫描数据集的转换。
3.如要求2所述的方法,其特征在于,进行第一次比较的步骤包括在第一次雷达回波与第二雷次达回波之间进行相对调整的步骤,这会导致扫描数据集的旋转。
4.如要求3所述的方法,其接收第一雷达回波的步骤包括第一预定频率范围的采样,已知会导致雷达回波功率水平的相对较低的变化。
5.如要求4所述的方法,其特征在于,所述计算机天线控制器对倾斜角进行第二次调整并建立第三倾斜角,第三个区域是扫描,并进行统计功率水平变化的第三次比较和确定关于向飞行员显示天气信息是响应于第三次比较而做出的方法。
6.如要求5所述的方法,其第二次比较使用多个预定的返回功率分布,它具有多个不同的特征。
7.如要求6所述的方法,其中多个不同特征包括地理参考。
8.如要求7所述的方法,其特征在于所述多个不同特征包括倾斜角参考。
9.如要求8所述的方法,其第一次返回功率Statistic是平均功率电平。
10.如要求3所述的方法,其特征在于,接收第一次雷达返回的步骤包括在每个天线扫描处的滤波,以减少雷达返回估计的变化。
11.如要求1所述的方法,其第一次返回功率统计量是平均功率水平。
剩余内容已隐藏,支付完成后下载完整资料
资料编号:[20319],资料为PDF文档或Word文档,PDF文档可免费转换为Word
